保定大力起重機械有限公司
電話:400-0312-118
0312-3022118
0312-3122118
0312-3155118
手機:15803222055
傳真:0312-3027600
掃一掃,加微信好友!

保定大力起重機械有限公司
電話:400-0312-118
0312-3022118
0312-3122118
0312-3155118
手機:15803222055
傳真:0312-3027600
掃一掃,加微信好友!

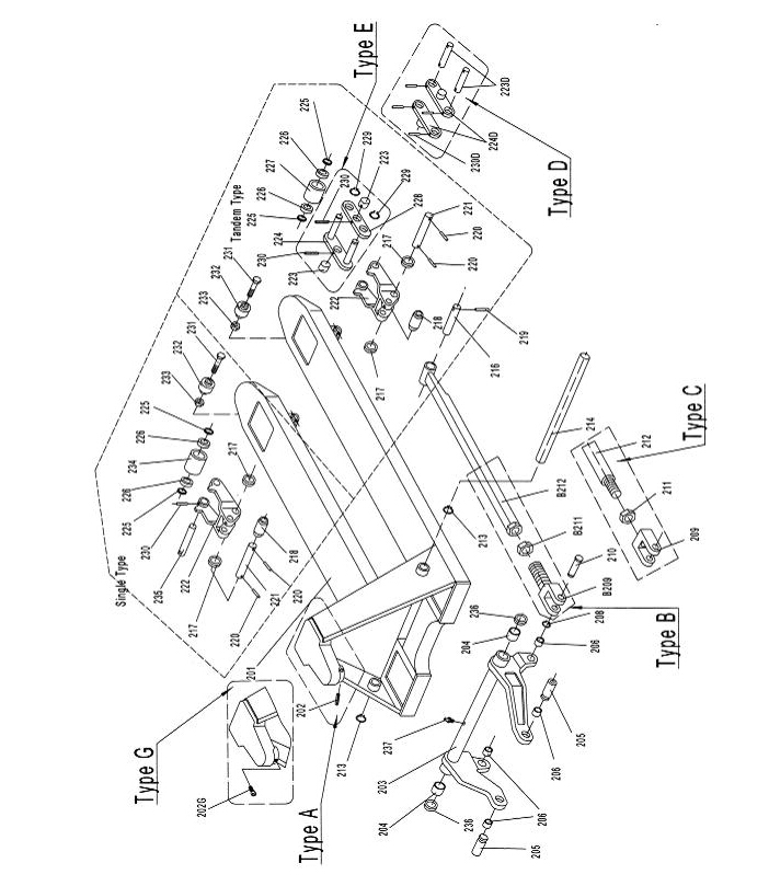
手動搬運車車架零部件(可結合零部件序號對應車架結構圖):
201 叉架、202 彈性銷、203 圓環棒、204 襯套、205 連接銷軸、206 襯套、207 襯套、208 擋圈、209 推桿叉、210 軸、211 螺母、212 推桿、213 彈性擋圈、214 軸、205 襯套、216 軸、217 防擦地滾子、218 退出滾子、219彈性銷、220彈性銷、221力臂塊軸、222力臂塊、223 銷軸、224 帶軸連板、225 墊片、226 軸承、227 小輪、228連板、229 彈性墊圈、230 彈性銷、231 螺栓、232 進入滾子、233 防松螺母、234 小輪、235小輪軸、236彈性銷。

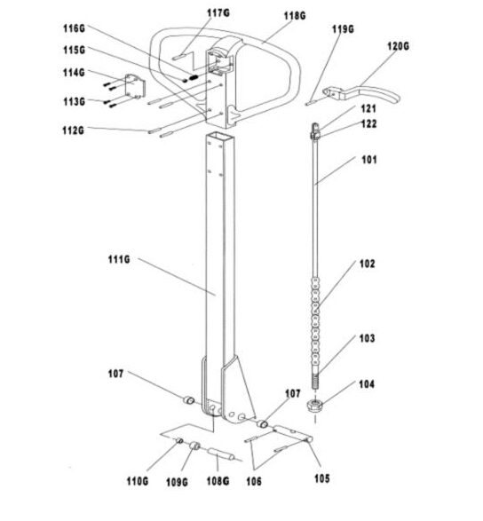
手動液壓搬運車手柄零部件(可結合序號對應結構圖)

101 長連桿、102 滾子鏈、103 短連桿、104 自鎖螺母、105 帶孔銷軸、106 彈性銷、107襯套、108 壓輪銷、109 壓輪、110 手柄、111 橡膠墊、112 彈性銷、113 折頁、114 彈簧、115 彈性銷、116 彈性銷、117 指狀手柄、118 滾輪、119 彈性銷。
手動搬運車油泵零部件(可結合序號對應結構圖)

301 彈簧蓋、302 大彈簧、303 小活塞桿、304 防塵圈、305 Y型圈、306 防塵蓋、307 擋圈、308 墊片、309 軸承、310 大輪、311 彈性銷、312 彈性銷、313 止推板、314 軸用彈性擋圈、315 軸承、316 大輪軸、317 六角螺母、318 螺釘、319擺桿、320 彈性銷、321液壓閥組件、322 油泵體、323 密封墊、324 螺塞、325 Y型圈、326O型圈、327 防塵圈、328 大活塞桿、329鋼球、330 調整螺栓、331 O型圈、332 調整螺釘、333 彈簧、334 安全閥芯。
上一條:河北大力微型電動葫蘆細節展示
下一條:MD雙速鋼絲繩電動葫蘆構造及原理